44+ Definition Of Diagram


James 5 Commentary Precept Austin


Human Design Definition Wholeandunleashed Com


Amazon Com Huanyu Visual Acuity Chart Digital 21 5inch Lcd Electronic Optical Eye Charts With 44 Visual Targets And 5 Display Methods Optometry Tester Projector With Remote Industrial Scientific


Effectiveness Of A Chatbot In Improving The Mental Wellbeing Of Health Workers In Malawi During The Covid 19 Pandemic A Randomized Controlled Trial Medrxiv


Input Output Tables Definition Charts Examples Video Lesson Transcript Study Com


Replace Cylindrical Columns With Precast Squared Columns Grasshopper Mcneel Forum


Chrome Webrequest Chrome For Developers


Top View Of Optical Layout Of Fast Response Euv Spectrometer Download Scientific Diagram


Mark 1 Commentary Precept Austin


Asset Categorization Asawin Rajakrom Ppt Download


Baby Boomers Wikipedia


47 Xyy Syndrome Medlineplus Genetics


Coordination Algorithm Download Scientific Diagram


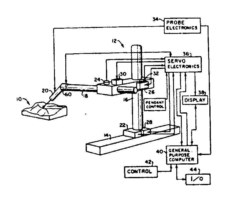
Full Title For Class 901 Subclass 33


Full Title For Class 901 Subclass 37


A3 A Lean Approach To Problem Solving


The Paradox Of Lean Construction And The Case For Ambidexterity


Ppt Physiology Of Ovulation Powerpoint Presentation Free Download Id 9107345

Iklan Atas Artikel

Iklan Tengah Artikel 1

Iklan Tengah Artikel 2

Iklan Bawah Artikel